- Knowledge


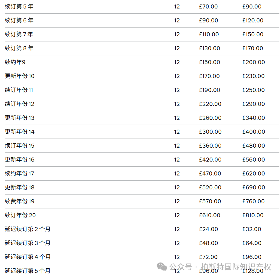
费用平均将上涨 25%。例如,专利检索费用将从 150 英镑上调至 200 英镑,商标申请费用将从 170 英镑上调至 205 英镑。知识产权局将于明年初发布完整指南,为那些费用可能在计划调整时段内到期的客户提供帮助。
此外,我们已更新了网站上 “如何向我们付款” 的相关信息,其中包括存款账户持有人的条款与条件。
调整前后费用对比












费用平均将上涨 25%。例如,专利检索费用将从 150 英镑上调至 200 英镑,商标申请费用将从 170 英镑上调至 205 英镑。知识产权局将于明年初发布完整指南,为那些费用可能在计划调整时段内到期的客户提供帮助。
此外,我们已更新了网站上 “如何向我们付款” 的相关信息,其中包括存款账户持有人的条款与条件。
调整前后费用对比









Shenzhen Best Enterprise Management Consulting Co., Ltd. jointly forms the One Party&Best Global Intellectual Property Service System, providing professional and comprehensive intellectual property overall strategic solutions for domestic and foreign enterprise clients. Our business covers infringement appeals, global certification services, as well as one-stop intellectual property comprehensive services such as trademark and patent registration applications at home and abroad.